Androidiani.com

Samsung registra un brevetto per un nuovo smartwatch: Android Wear o Tizen?

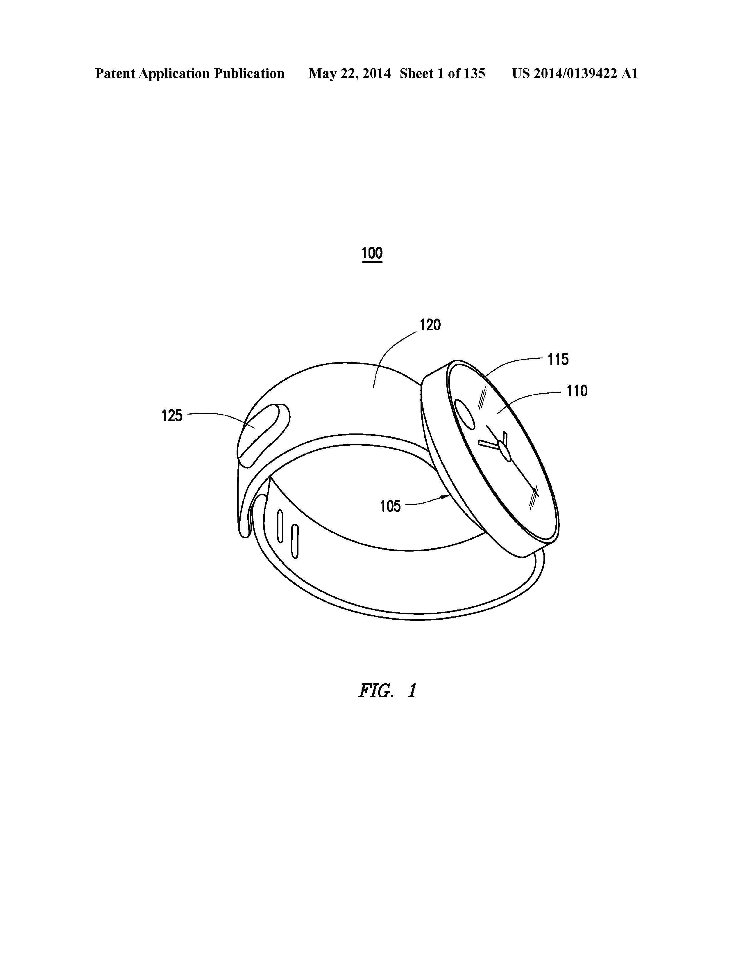
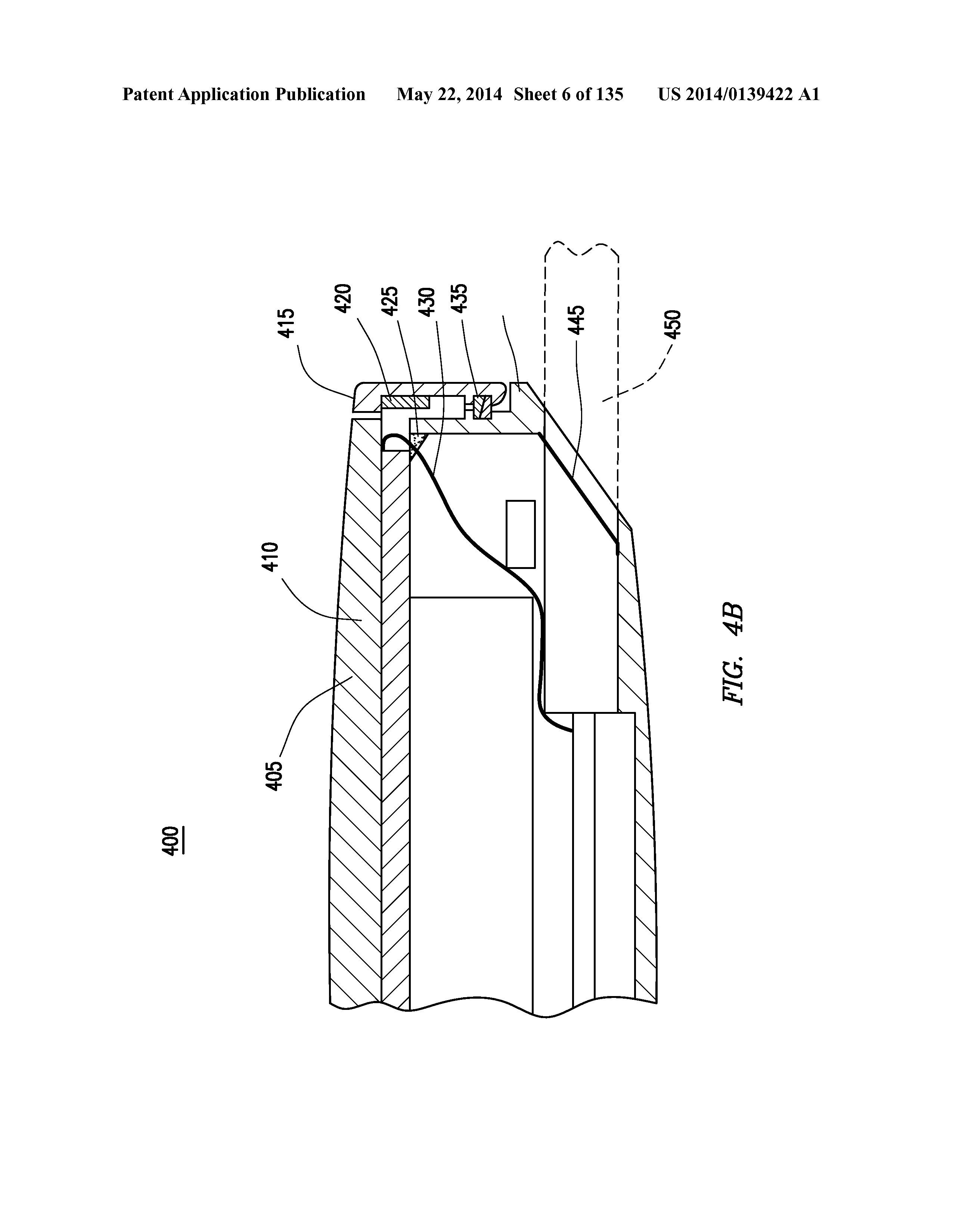
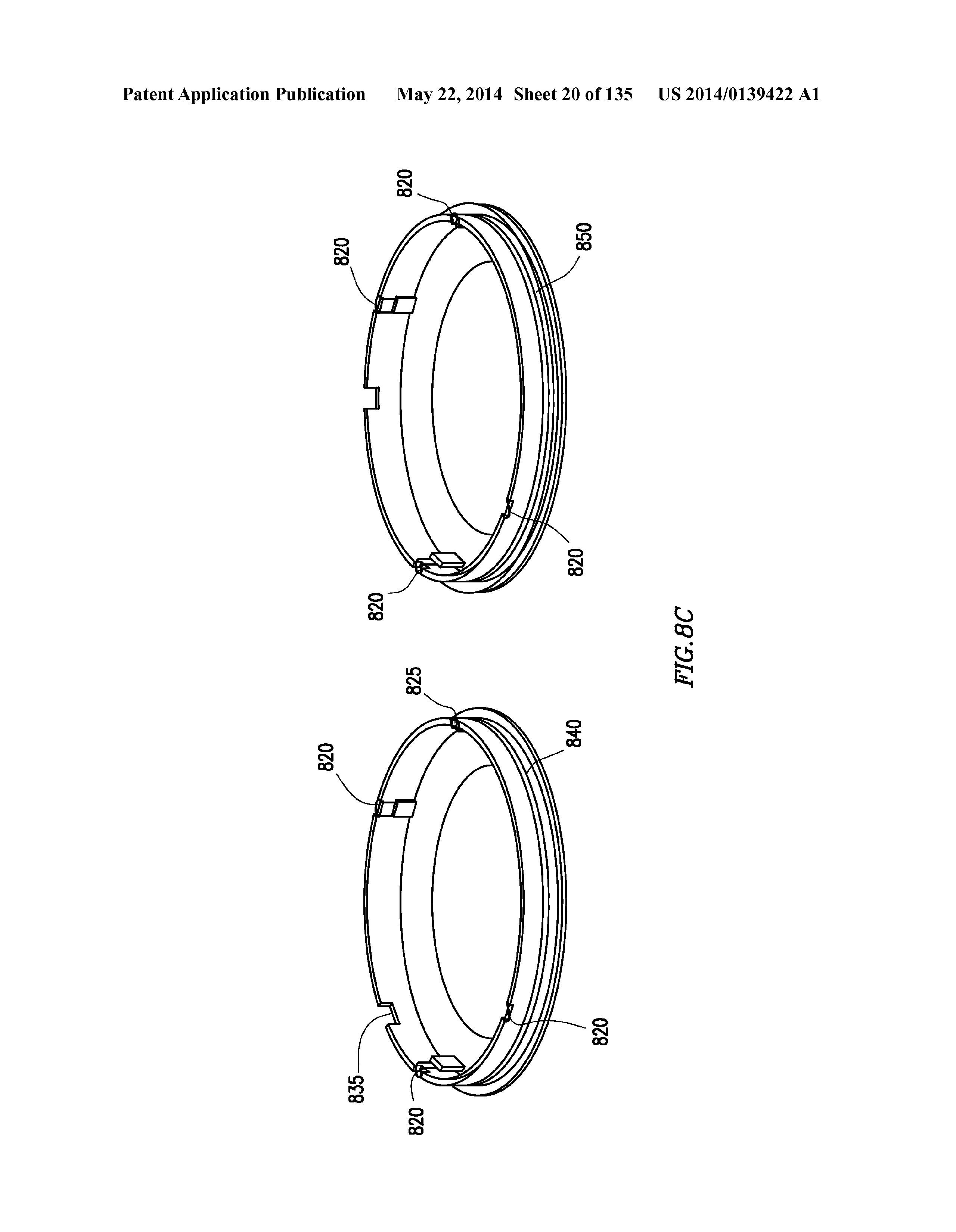
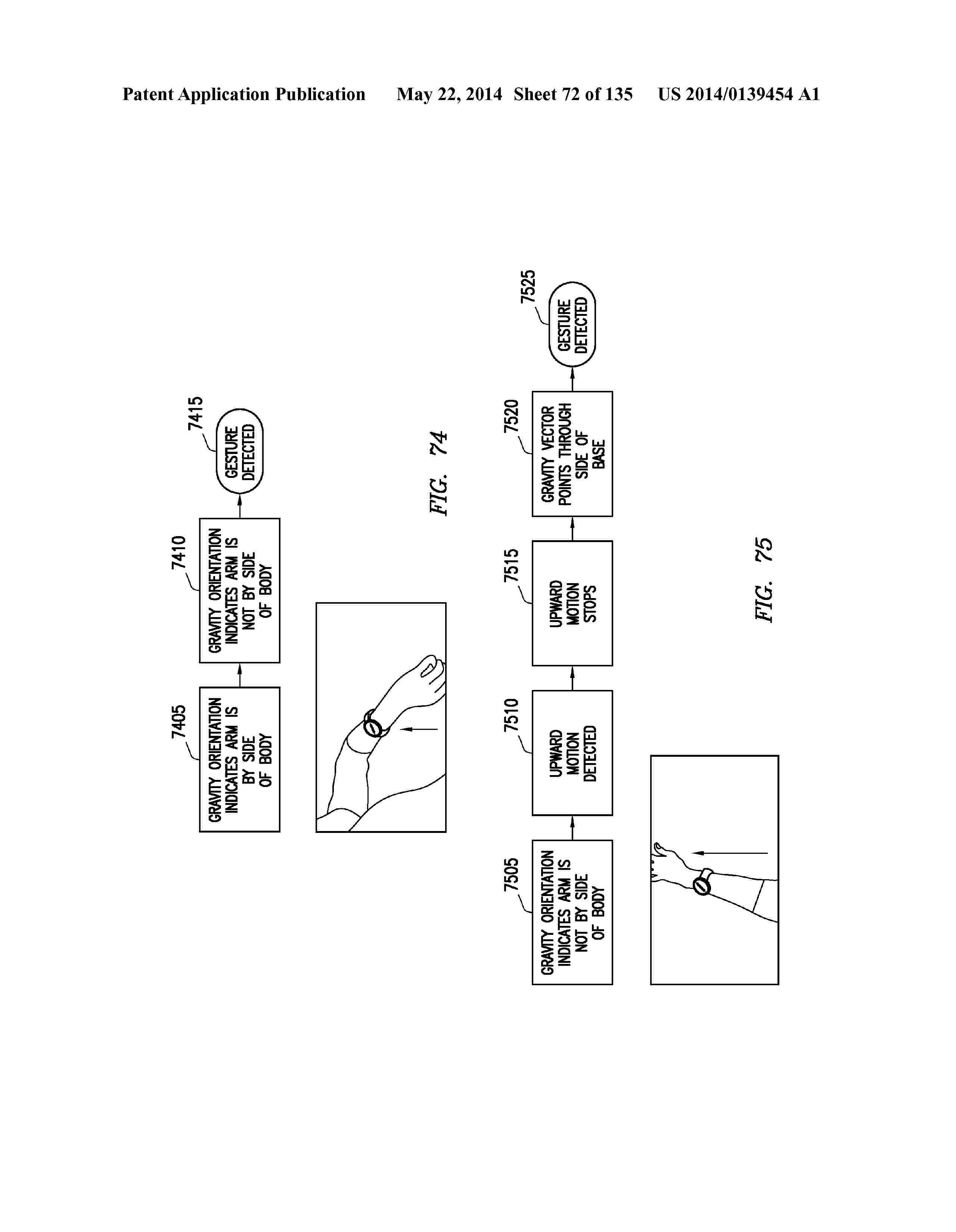
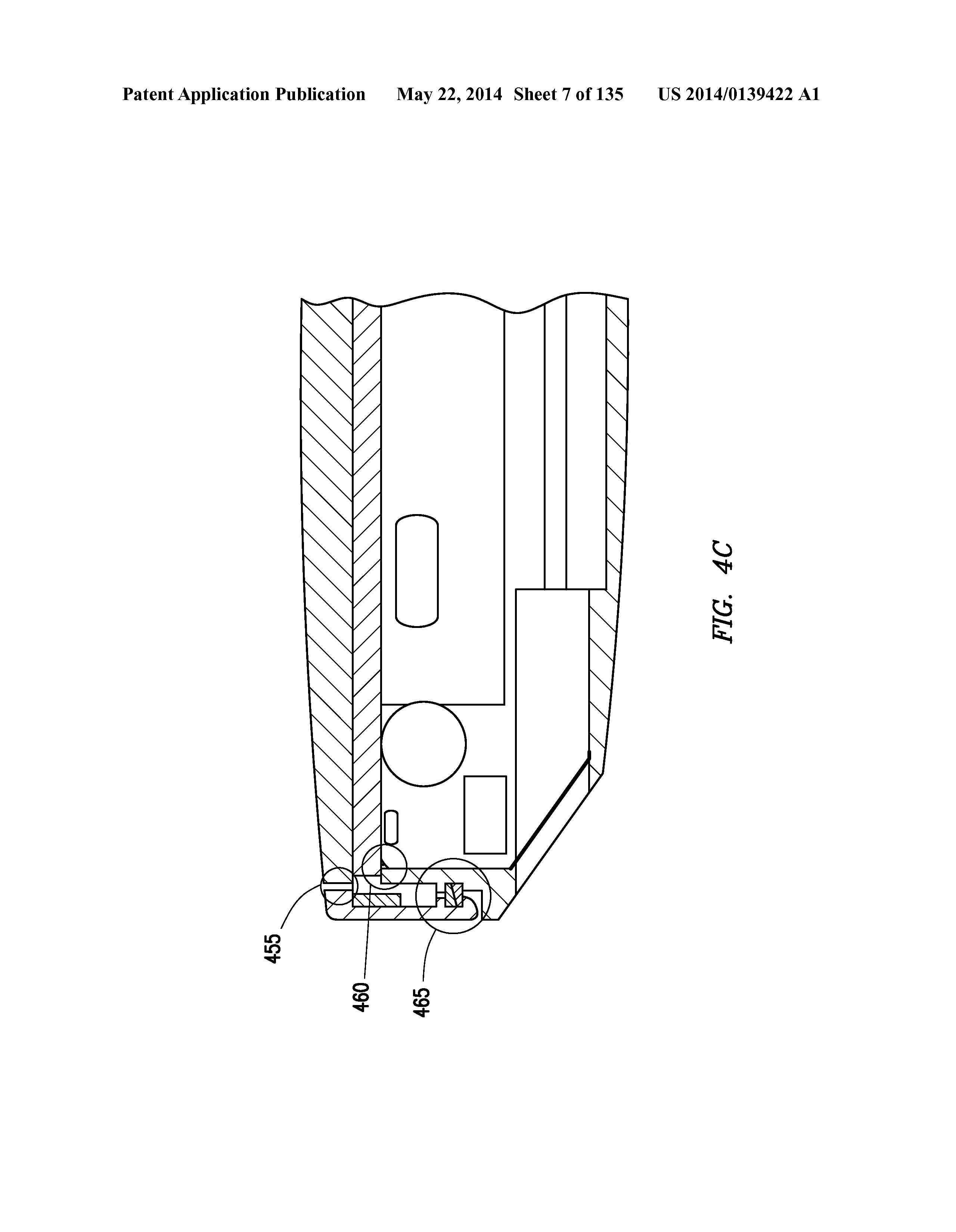
Durante le scorse ore il produttore sud-coreano Samsung ha fatto richiesta per un nuovo brevetto che, come noterete dalle immagini, riguarda certamente un nuovo smartwatch dalle sembianze molto simili al tanto atteso e chiacchierato Motorola Moto 360. Parliamo di un altro device con corpo molto simile a quello di un classico orologio, ma con tutte le novità delle moderne tecnologie.

Samsung sembra essere già al lavoro su un nuovo smartwatch anche se ancora non è ben chiaro se farà affidamento ancora una volta al proprio Tizen OS o deciderà di adottare il nuovo Android Wear.

Ecco le immagini del brevetto depositato:

Non ci sono dubbi solamente per quanto riguarda il sistema operativo, dato che Samsung spesso ha lodato le novità di Android Wear anche se difficilmente potrebbe abbandonare Tizen dopo i primi due Gear (dato che anche il primo sta per ricevere l’OS del produttore coreano). Oltre tutto ciò, possiamo chiaramente notare dalle immagini che il device in questione è molto simile al buon Motorola Moto 360.

Il brevetto ci mostra anche qualche novità sull’UI e una serie di implementazioni e gestures da poter effettuare sulla corona o sul cinturino dell’orologio.

Oltre queste informazioni non abbiamo altre novità e non ci resta che attendere maggiori informazioni.